Обратные гидроклапаны Sun Hydraulics
Обратные клапаны Sun Hydraulics поставляются в двух исполнениях: с радиальным выходом (из линии 1 в линию 2) и с осевым выходом (из линии 2 в линию 1). При этом наиболее предпочтительным вариантом для большинства применений является исполнение с радиальным выходом. Клапаны в исполнении с осевым выходом характеризуются более высоким перепадом давления, вследствие чего рассматриваются как не рекомендуемые к применению, однако в ряде случаев они способны упростить компоновку гидравлического контура в сложных блоках клапанов.
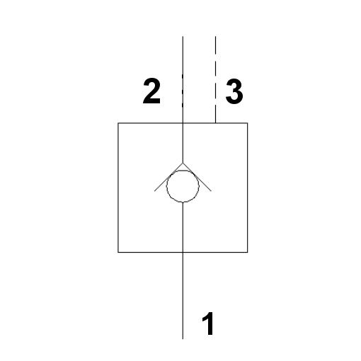
Двухлинейные обратные гидроклапаны – CX*A. Обратные гидравлические клапаны Sun Hydraulics серии CX*A с радиальным выходом (рекомендуемое исполнение) имеют шесть типоразмеров с номинальным расходом от 4,7 до 640 л/мин и со свободным пропуском потока из линии 1 в линию 2, при этом поток из линии 2 в линию 1 блокируется.
Основные эксплуатационные характеристики:
• Низкий перепад давления по отношению к физическому размеру;
• Малые перетечки из линии 2 в линию 1 в закрытом положении (менее 1 капли в минуту);
• Восемь типоразмеров пружин, обеспечивающих различное давление открытия (от 0,07 до 10,5 бар).
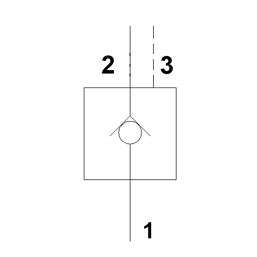
Двухлинейные обратные гидроклапаны – CX*D. Обратные гидроклапаны Sun Hydraulics серии CX*D с осевым выходом (не рекомендуемое исполнение) имеют пять типоразмеров с номинальным расходом от 30 до 480 л/мин и со свободным пропуском потока из линии 2 в линию 1, при этом поток из линии 1 в линию 2 блокируется.
Основные эксплуатационные характеристики:
• Альтернативное направление потока, позволяющее в некоторых случаях упростить компоновку блока клапанов;
• Меньшая пропускная способность по сравнению с клапанами серии CX*A.
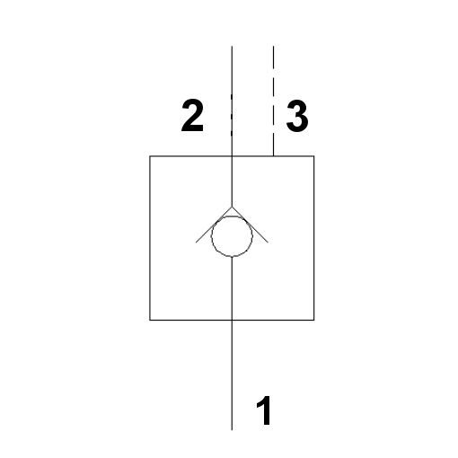
Двухлинейные обратные клапаны с байпасным жиклером – CNBC, CNDC, CNFC, CNHC и CNJC. Обратные гидроклапаны Sun Hydraulics серии CN*C с радиальным выходом и фиксированным байпасным жиклером обеспечивают ограниченное прохождение потока из линии 2 в линию 1.
Основные эксплуатационные характеристики:
• Семь типоразмеров пружин, обеспечивающих различное давление открытия (от 0,07 до 7 бар);
• Диапазон диаметров байпасного жиклера (по запросу клиента): от 0,4 до 9 мм в зависимости от типоразмера.
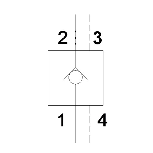
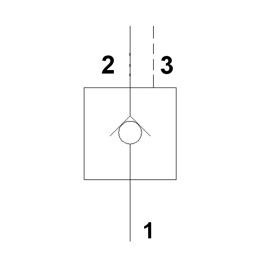
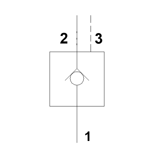
Трехлинейные обратные клапаны CX*C и CX*E. Обратные гидравлические клапаны Sun Hydraulics серии CX*C с радиальным выходом и серии CX*E с осевым выходом имеют характеристики, аналогичные клапанам серий CX*A и CX*D соответственно. Различие состоит в том, что они подходят под трехлинейные седла, при этом линия 3 закрыта.
Основные эксплуатационные характеристики:
• Данные клапаны могут применяться в гидравлических узлах, в которых требуется установить обратный клапан в существующее трехлинейное седло (например, для замены уравновешивающего клапана в блоке рекуперации (регенерации) с регулировкой по давлению, трансформируя его в блок с непрерывной рекуперацией);
• Клапаны серии CX*E с осевым выходом обеспечивают возможность ручной регулировки.
| Схема и описание | |||
|---|---|---|---|
| Код | Пропускная способность | Посадочное гнездо | |
| Обратный клапан гидравлический (гидроклапан) небольшой производительности (пилотный клапан), Sun Hydraulics | CXAA | 20 л/мин | T-8A |
| Обратный клапан гидравлический (гидроклапан), Sun Hydraulics | CXBA | 40 л/мин | T-162A |
| CXDA | 80 л/мин | T-13A | |
| CXFA | 160 л/мин | T-5A | |
| CXHA | 320 л/мин | T-16A | |
| CXJA | 610 л/мин | T-18A | |
| CXKA | 900 л/мин | T-18AU | |
| CXZA | 4 л/мин | T-382A | |
| Обратный клапан гидравлический (гидроклапан), Sun Hydraulics | CXAD | 30 л/мин | T-162A |
| CXCD | 60 л/мин | T-13A | |
| CXED | 120 л/мин | T-5A | |
| CXGD | 240 л/мин | T-16A | |
| CXID | 480 л/мин | T-18A | |
| Обратный клапан гидравлический (гидроклапан), монтаж заподлицо, Sun Hydraulics | CXBG | 40 л/мин | T-162A |
| Обратный клапан гидравлический (гидроклапан) с жиклером, Sun Hydraulics | CNBC | 30 л/мин | T-162A |
| CNDC | 60 л/мин | T-13A | |
| CNFC | 120 л/мин | T-5A | |
| CNHC | 240 л/мин | T-16A | |
| CNJC | 480 л/мин | T-18A | |
| CNKC | 680 л/мин | T-18AU | |
| Обратный клапан гидравлический (гидроклапан) с механическим управлением, Sun Hydraulics | CDAP | 4,7 л/мин | T-162DP |
| Обратный клапан гидравлический (гидроклапан) с механическим управлением, Sun Hydraulics | CDAQ | 4,7 л/мин | T-162DP |
| Обратный клапан гидравлический (гидроклапан), порт 3 заблокирован, Sun Hydraulics | CXDC | 80 л/мин | T-11A |
| CXFC | 160 л/мин | T-2A | |
| CXHC | 320 л/мин | T-17A | |
| CXJC | 480 л/мин | T-19A | |
| Обратный клапан гидравлический (гидроклапан), порт 3 заблокирован, Sun Hydraulics | CXCE | 60 л/мин | T-11A |
| CXEE | 120 л/мин | T-2A | |
| CXGE | 240 л/мин | T-17A | |
| CXIE | 480 л/мин | T-19A | |
| Обратный клапан гидравлический (гидроклапан) с жиклёром, порт 3 заблокирован, Sun Hydraulics | CNCD | 60 л/мин | T-11A |
| CNED | 120 л/мин | T-2A | |
| CNGD | 240 л/мин | T-17A | |
| CNID | 480 л/мин | T-19A | |
| Гидрозамок (обратный клапан гидравлический с пилотным управлением), Sun Hydraulics | CKBB | 30 л/мин | T-163A |
| CKCB | 60 л/мин | T-11A | |
| CKEB | 120 л/мин | T-2A | |
| CKGB | 240 л/мин | T-17A | |
| CKIB | 480 л/мин | T-19A | |
| Гидрозамок (обратный клапан гидравлический с пилотным управлением), герметичный пилот, монтаж заподлицо, Sun Hydraulics | CKBG | 30 л/мин | T-163A |
| Гидрозамок (обратный клапан гидравлический с пилотным управлением), герметичный пилот, Sun Hydraulics | CKBD | 30 л/мин | T-163A |
| CKCD | 60 л/мин | T-11A | |
| CKEB | 120 л/мин | T-2A | |
| CKGD | 240 л/мин | T-17A | |
| CKID | 480 л/мин | T-19A | |
| Гидрозамок (обратный клапан гидравлический с пилотным управлением), вентилируемый, Sun Hydraulics | CVCV | 60 л/мин | T-21A |
| CVEV | 120 л/мин | T-22A | |
| CVGV | 240 л/мин | T-23A | |
| CVIV | 480 л/мин | T-24A | |
| Гидрозамок (обратный клапан гидравлический с пилотным управлением) с жиклером, Sun Hydraulics | CNCE | 60 л/мин | T-11A |
| CNEE | 120 л/мин | T-2A | |
| CNGE | 240 л/мин | T-17A | |
| Гидрозамок (обратный клапан гидравлический с пилотным управлением) со связью с атмосферой, Sun Hydraulics | CKCV | 60 л/мин | T-11A |
| CKEV | 120 л/мин | T-2A | |
| CKGV | 240 л/мин | T-17A | |
| CKIV | 480 л/мин | T-19A | |
| Обратный клапан гидравлический (гидроклапан) с пилотным управлением (пилот на закрытие), Sun Hydraulics | COBA | 40 л/мин | T-163A |
| COBG | 40 л/мин | T-163A | |
| CODA | 80 л/мин | T-11A | |
| COFA | 160 л/мин | T-2A | |
| COHA | 320 л/мин | T-17A | |
| COJA | 610 л/мин | T-19A | |
| COKA | 900 л/мин | T-19AU | |
| Обратный клапан гидравлический (гидроклапан) с пилотным управлением (пилот на закрытие), пилотное соотношение 20:1; 2,8 мм, Sun Hydraulics | CODD | T-11A | |
| Обратный клапан гидравлический (гидроклапан) с пилотным управлением (пилот на закрытие) с жиклером, Sun Hydraulics | CNFE | 160 л/мин | T-2A |
| CNHE | 320 л/мин | T-17A | |
| CNJE | 610 л/мин | T-19A | |
| Обратный клапан гидравлический (гидроклапан) с пилотным управлением (пилот на закрытие), пилотное соотношение 120:1; 1,27 мм, Sun Hydraulics | COFO | 4 л/мин | T-2A |
| Обратный клапан гидравлический (гидроклапан), монтаж внутренний, Sun Hydraulics | CXBM | 40 л/мин | T-162DP |
| Обратный клапан гидравлический (гидроклапан), с датчиком положения золотника, Sun Hydraulics | CXFHZ | 120 л/мин | T-5A |
| CXHHZ | 240 л/мин | T-16A | |
| Гидрозамок (обратный клапан гидравлический с пилотным управлением), герметичный пилот, 5:1, Sun Hydraulics | CKCS | 60 л/мин | T-11A |
| Гидрозамок (обратный клапан гидравлический с пилотным управлением), 5:1, Sun Hydraulics | CKCR | 60 л/мин | T-11A |