| Схема и описание |
| Код |
Пропускная способность | Посадочное гнездо |
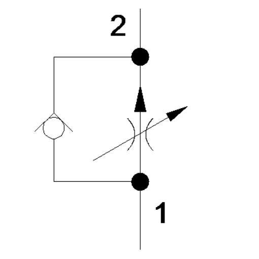
| Регулятор расхода гидравлический (изменяемая настройка), с компенсацией по давлению, с обратным клапаном, Sun Hydraulics | FDBA |
23 л/мин |
T-13A |
| FDCB |
45 л/мин |
T-5A |
| FDEA |
95 л/мин |
T-16A |
| FDFA |
200 л/мин |
T-18A |
| Нормально открытый модулирующий элемент гидравлический (гидроклапан) с челночным клапаном, Sun Hydraulics | LPDS |
60 л/мин |
T-21A |
| Нормально закрытый модулирующий элемент гидравлический (гидроклапан) с предохранительной функцией, Sun Hydraulics | RVBB |
20 л/мин |
T-163A |
| RVCB |
40 л/мин |
T-11A |
| RVEB |
80 л/мин |
T-2A |
| RVGB |
160 л/мин |
T-17A |
| RVIB |
320 л/мин |
T-19A |